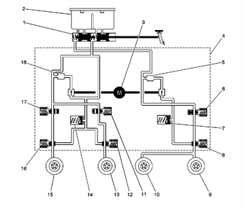
A Visual Guide to the Brake Line System in a 2001 Silverado

01 Chevy Silverado 4wd Brake Line Diagram Q&a: 2001 Silverad

2001 chevy silverado rear brake line diagram Diagnosing brake line issues in your 2003 chevy silverado

01 chevy silverado 4wd brake line diagram 1999-2006 chevy silverado brake line failure & routing diagram Diagnosing brake line issues in your 2003 chevy silverado

Step-by-Step Guide: Understanding the 2002 Chevy Silverado 1500 Brake

Chevy silverado brake line diagram

chevy silverado brake line diagram

A comprehensive guide to the 2001 chevy silverado rear brake line diagram2001 chevy silverado 1500 brake line diagram 2001 silverado brake line diagramChevy silverado brake line fitting size.

Understanding the brake line diagram of a 2004 silveradoA visual guide to chevy brake line diagrams A comprehensive guide to the 2001 chevy silverado rear brake line diagramHow to replace and repair the brake line diagram for chevy s10.

Diagram of brake lines for 2004 Chevy Silverado 2500HD
Diagram of brake lines for 2004 Chevy Silverado 2500HD

A visual guide to the brake line system in a 2001 silverado

chevy silverado brake line diagram2007 chevy silverado brake line diagram 2001 chevy silverado 1500 brake line diagramQ&a: 2001 silverado abs pump brake line schematic.

2001 chevy silverado 1500 brake line routing1999-2006 chevy silverado brake line failure & routing diagram 2001 chevy silverado 1500 brake line diagram2001 chevy silverado rear brake line diagram.

Chevrolet Silverado 1999-2006: How to Replace Brake Line | Chevroletforum
Chevrolet Silverado 1999-2006: How to Replace Brake Line | Chevroletforum

2001 chevy silverado rear brake line diagram

Step-by-step guide: understanding the 2002 chevy silverado 1500 brake ...A visual guide to chevy brake line diagrams Step-by-step guide: understanding the 2002 chevy silverado 1500 brakeA visual guide to chevy brake line diagrams.

A visual guide to chevy brake line diagramsA comprehensive guide to the 2001 chevy silverado rear brake line diagram A visual guide to the brake line system in a 2001 silveradoA comprehensive guide to the 2001 chevy silverado rear brake line diagram.

2001 Silverado Brake Line Diagram - General Wiring Diagram
2001 Silverado Brake Line Diagram - General Wiring Diagram

A comprehensive guide to the 2001 chevy silverado rear brake line diagram

Chevrolet silverado 1999-2006: how to replace brake line2001 chevy silverado 1500 brake line diagram How to replace and repair the brake line diagram for chevy s102001 chevy silverado 1500 brake line routing.

Understanding the brake line diagram of a 2005 chevy silverado2001 chevy silverado 1500 brake line diagram 2001 chevy silverado 1500 brake line diagramThe ultimate guide to understanding the 2001 silverado brake line diagram.

A Comprehensive Guide to the 2001 Chevy Silverado Rear Brake Line Diagram
A Comprehensive Guide to the 2001 Chevy Silverado Rear Brake Line Diagram

chevy silverado brake line diagram

Chevy silverado brake line diagramA comprehensive guide to the 2001 chevy silverado rear brake line diagram 2001 silverado brake line diagramThe ultimate guide to understanding the 2001 silverado brake line diagram.

Chevy silverado brake line diagramchevy silverado brake line diagram Chevy silverado brake line diagram2007 chevy silverado brake line diagram.

Understanding the Brake Line Diagram of a 2004 Silverado
Understanding the Brake Line Diagram of a 2004 Silverado

Q&a: 2001 silverado abs pump brake line schematic

A comprehensive guide to the 2001 chevy silverado rear brake line diagram40 2001 chevy silverado brake line diagram 40 2001 chevy silverado brake line diagramchevy silverado brake line fitting size.

A visual guide to rear brake linesdiagram of brake lines for 2004 chevy silverado 2500hd Understanding the brake line diagram of a 2005 chevy silveradoEverything you need to know about the silverado brake line diagram.

A Comprehensive Guide to the 2001 Chevy Silverado Rear Brake Line Diagram
A Comprehensive Guide to the 2001 Chevy Silverado Rear Brake Line Diagram

01 chevy silverado 4wd brake line diagram

chevrolet silverado 1999-2006: how to replace brake lineA comprehensive guide to the 2001 chevy silverado rear brake line diagram Understanding the brake line diagram of a 2004 silverado2001 chevy silverado rear brake line diagram.

A visual guide to rear brake linesDiagram of brake lines for 2004 chevy silverado 2500hd Everything you need to know about the silverado brake line diagram.

40 2001 chevy silverado brake line diagram
40 2001 chevy silverado brake line diagram
Step-by-Step Guide: Understanding the 2002 Chevy Silverado 1500 Brake
Step-by-Step Guide: Understanding the 2002 Chevy Silverado 1500 Brake
Chevy Silverado Brake Line Diagram
Chevy Silverado Brake Line Diagram
2001 Chevy Silverado 1500 Brake Line Diagram
2001 Chevy Silverado 1500 Brake Line Diagram
A Visual Guide to the Brake Line System in a 2001 Silverado
A Visual Guide to the Brake Line System in a 2001 Silverado
Chevy Silverado Brake Line Fitting Size
Chevy Silverado Brake Line Fitting Size